GT气动执行器是常用的一种气动执行器,在气动执行器市场,气动执行器占有量应该大于80%,气动执行器特点是价格便宜,体积小,重量轻,市场保有量大,动作灵活。只要气源即可实现阀门的开启和关闭,安全可靠。
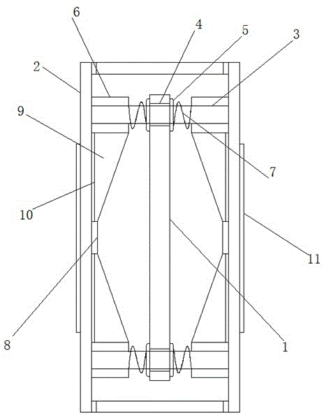
图中:1主板、2壳体、3导向杆、4套环、5挡片、6限位块、7缓冲弹簧、8导热板、9支撑板、10导热条、11散热翅片。

气动执行器的结构组成图
下面将结合本实用新型实施例中的气动执行器的结构组成图,对本实用新型实施例中的GT气动执行器图解、完整地描述,显然,所描述的实施例仅仅是本实用新型一部分实施例,而不是全部的实施例。
参照GT气动执行器的结构组成图,包括主板1以及包裹主板1的壳体2,壳体2的内部固定连接有与主板1四角活动套接的导向杆3,导向杆3的内圈滑动套接有与主板1固定套接的套环4,套环4伸出主板1的两端外圈固定套接有与主板1固定连接的圆环形结构的挡片5,两组挡片5相互远离的一侧安装有与导向杆3固定套接的限位块6,限位块6与挡片5之间安装有与导向杆3活动套接的缓冲弹簧7,主板1的两侧安装有位于壳体2内侧壁上的导热板8,导热板8的一侧设置有与限位块6固定连接的支撑板9,支撑板9的一侧设置有与壳体2内侧壁固定连接的导热条10,壳体2的两侧外侧壁安装有与导热板8连接的散热翅片11。
壳体2的两端均开设有贯穿壳体2的通道,通道的开口处固定套接有滤网,壳体2的两侧固定连接有安装耳,安装耳上开设有安装孔,支撑板9为三角形结构,且支撑板9与壳体2内侧壁固定连接,壳体2的两侧开设有与导热板8固定套接的通孔,导热板8伸出通孔的一端与散热翅片11固定连接。
工作原理:利用螺钉使壳体2上的安装耳与GT执行器进行固定,使用的时候利用限位块6与挡片5之间的缓冲弹簧7缓冲外界对主板1的冲击力,同时当外界挤压壳体2的时候,支撑板9与壳体2以及限位块6之间形成三角形结构的支撑结构,提高了壳体2对外界的挤压力,从而确保壳体2内部的主板1安全,同时利用导热条10、导热板8和散热翅片11,使得壳体2内部的主板1能够将产生的热量及时散发出去,该设计结构简单,使得主板具有较强的抗压能力,有效的缓解外界冲击,方便主板进行散热。
以上所述,仅为本实用新型较佳的具体实施方式,但本实用新型的保护范围并不局限于此,任何熟悉本技术领域的技术人员在本实用新型揭露的技术范围内,根据本实用新型的技术方案及其实用新型构思加以等同替换或改变,都应涵盖在本实用新型的保护范围之内。
